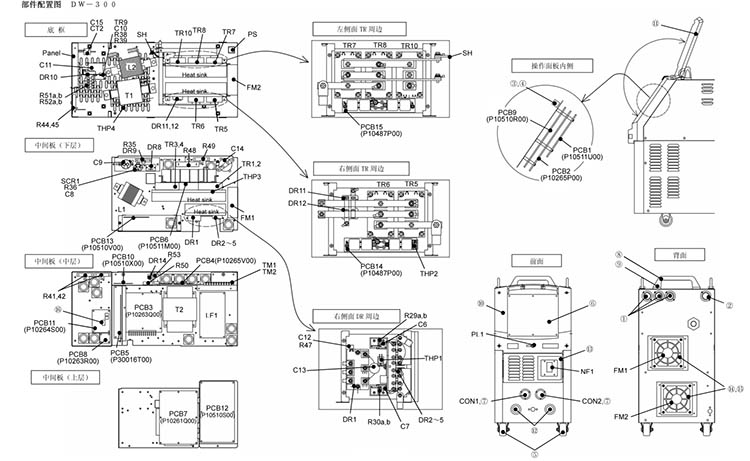
我們先來看一下OTC鋁焊機DW300零部件的配置圖。

1.配件符號:NF1,型號:4614-109,名稱:空氣開關,規格:IELK111-34459-1-V。
2.配件符號:LF1,型號:4519-036,名稱:濾波器,規格:FS5681-50-99。
3.配件符號:PL1,型號:4600-360,名稱:指示燈,規格:N46010A7KW-01。
4.配件符號:DR1,型號:4531-716,名稱:三相整流橋,規格:DFA100BA160。
5.配件符號:DR2〜5,8,型號:4531-308,名稱:快速二極管模塊,規格:DBA200UA60。
6.配件符號:DR9,型號:4531-505,名稱:二極管,規格:S2L60。
7.配件符號:DR10〜12,型號:4531-308,名稱:快速二極管模塊,規格:DBA200UA60。
8.配件符號:DR14,型號:4531-120,名稱:整流橋,規格:D5SB60。
9.配件符號:TR1〜4,型號:100-0003,名稱:IGBT模塊,規格:CM150-DU-24NFH。
10.配件符號:TR5〜8,型號:4534-531,名稱:IGBT模塊,規格:CM400DY-12NF。
11.配件符號:TR9,型號:4534-402,名稱:IGBT,規格:1MBH50D-060。
12.配件符號:TRIO,型號:4534-531,名稱:IGBT模塊,規格:CM400DY-12NF。
13.配件符號:SCR1,型號:4530-137,名稱:可控矽模塊,規格:SG25M60。
14.配件符號:CT1,型號:4810-030,名稱:電流瓦感器,規格:W-W03029。
15.配件符號:CT2,型號:4406-009,名稱:霍爾元件,規格:HA400S3I-H。
16.配件符號:T1,型號:P10511B00,名稱:逆變變壓器,規格:P10511B00。
17.配件符號:LI,型號:P10264L00,名稱:輸入電抗器,規格:P10322L00。
18.配件符號:L2,型號:P10510C00,名稱:直流電抗器,規格:P10510C00。
19.配件符號:L3,4,6,12,21,型號:4739-497,名稱:鐵氧磁芯,規格:E04RA400270150。
20.配件符號:L7,型號:4739-497,名稱:鐵氧磁芯,規格:E04RA400270150。
21.配件符號:L10,11,13,14,24,型號:4739-543,名稱:鐵氧磁芯,規格:E04RA310190100。
22.配件符號:L18,型號:4739-358,名稱:鐵氧磁芯,規格:RI-17.5-28.5-10.7。
23.配件符號:L23,型號:4739-579,名稱:扣片濾波器,規格:ZCAT-3035-1330。
24.配件符號:THP1,型號:4614-040,名稱:溫控開關,規格:67L085。
25.配件符號:THP2,型號:4614-057,名稱:溫控開關,規格:67L080。
26.配件符號:THP3,型號:4258-051,名稱:溫控開關,規格:67L090。
27.配件符號:THP4,型號:4253-024,名稱:溫控開關,規格:US-602SXTTAS。
28.配件符號:FM1,2,型號:P30016L00,名稱:風機,規格:P30016L00。
29.配件符號:SH,型號:4403-116,名稱:分流器,規格:KY400A400A/60mV。
30.配件符號:R1〜4,型號:1EG191-11400,名稱:壓敏電阻,規格:ENC911D-14A。
31.配件符號:R7〜12,型號:4509-704,名稱:碳膜電阻,規格:RD1/4Wlk^J。
32.配件符號:R13〜20,43,型號:4508-317,名稱:碳膜電阻,規格:RD1/2W3kQJ。
33.配件符號:R29a,b〜30a,b,型號:4509-121,名稱:金屬膜電阻,規格:RNP-50SC10QF。
34.配件符號:R35,型號:4509-916,名稱:水泥電阻,規格:T20SH2.2QJA。
35.配件符號:R36,38,47,型號:4509-704,名稱:碳膜電阻,規格:RD1/4Wlk^J。
36.配件符號:R39,型號:4504-944,名稱:繞線電阻,規格:KNP1W10Q。
37.配件符號:R41,42,型號:4509-922,名稱:水泥電阻,規格:20SH10QJA。
38.配件符號:R44,45,46,型號:4509-128,名稱:金屬氧化膜電阻,規格:RS2B-200k〇J。
39.配件符號:R48,型號:4509-918,名稱:水泥電附,規格:40SII200QJA。
40.配件符號:R49,50,型號:4509-825,名稱:水泥電阻,規格:20SH15kQJA。
41.配件符號:R51a,b〜R52a,b,型號:4504-325,名稱:扁平繞線電阻,規格:NCRF24V20QJ。
42.配件符號:R53,型號:4509-109,名稱:金屬氧化膜電阻,規格:RS1B51k〇。
43.配件符號:C6,7,型號:4518-528,名稱:薄膜電容,規格:US20X103JAASA。
44.配件符號:C8,型號:4518-402,名稱:薄膜電容,規格:0.47hF50V。
45.配件符號:C9,型號:4511-510,名稱:鋁電解電容,規格:LWA2N601MSMAZO。
46.配件符號:CIO,型號:4518-497,名稱:薄膜電容,規格:DHS630V103JSL。
47.配件符號:Cll,型號:4518-411,名稱:遊膜電容,規格:EM351200D0B1HP。
48.配件符號:C12,型號:4518-402,名稱:薄膜電容,規格:0.47nF50V。
49.配件符號:C13,型號:4518-530,名稱:薄膜電容,規格:US16X154JAASA。
50.配件符號:C14,型號:4511-251,名稱:鍆電解電容,規格:WW02212。
51.配件符號:C15,型號:4517-401,名稱:陶瓷電容,規格:O.OlnF2kV。
52.配件符號:CONI,型號:4730-421,名稱:金屈插座,規格:HS25R-10。
53.配件符號:CON2,型號:4730-426,名稱:金屬插沌,規格:25-6BK。
54.配件符號:PS,型號:4255-016,名稱:扭力開關,規格:W-W00032。
55.配件符號:TM1,型號:4739-616,名稱:端子台,規格:TB10-018P。
56.配件符號:TM2,型號:4739-505,名稱:端子台,規格:TB10-0112P。
57.配件符號:PCB1,型號:P10511L,名稱:線路板,規格:P10511U00。
58.配件符號:PCB2,型號:P10265P,名稱:線路板,規格:P10265P00。
59.配件符號:PCB3,型號:P10263Q,名稱:線路板,規格:P10263Q00。
60.配件符號:PCB4,型號:P10265V,名稱:線路板,規格:P10265V00。
61.配件符號:PCB5,型號:P30016T,名稱:線路板,規格:P30016T00。
62.配件符號:PCB6,型號:P10511M,名稱:線路板,規格:P10511M00。
63.配件符號:PCB7,型號:P10261Q,名稱:線路板,規格:P10261Q00。
64.配件符號:PCB8,型號:P10263R,名稱:線路板,規格:P10263R00。
65.配件符號:PCB9,型號:P10510R,名稱:線路板,規格:P10510R00。
66.配件符號:PCB10,型號:P10510X,名稱:線路板,規格:PI0510X00。
67.配件符號:PCB11,型號:P10264S,名稱:線路板,規格:P10264S00。
68.配件型號:4341-308,名稱:繼電器,規格:G6B-1114P-FD-USDC24V。
69.配件符號:PCB12,型號:P10510S,名稱:線路板,規格:P10510S00。
70.配件符號:PCB13,型號:P10510V,名稱:線路板,規格:P10510V00。
71.配件符號:PCBll,型號:P10487P,名稱:線路板,規格:P10487P00。
72.配件符號:PCB15,型號:P10487P,名稱:線路板,規格:P10487P00。
73.配件符號:①,型號:4739-474,名稱:附膜橡膠堵,規格:W-W02805。
74.配件符號:②,型號:4739-604,名稱:附膜橡膠坫,規格:C-30-SG-32A。
75.配件符號:③,型號:4735-038,名稱:旋鈕,規格:K-10022RSB。
76.配件符號:④,型號:4735-039,名稱:蓋,規格:K-10022CSBL。
77.配件符號:⑤,型號:4739-516,名稱:滾輪,規格:420SR-RD50。
78.配件符號:⑥,型號:P10562W02,名稱:操作面板,規格:P10562W02。
79.配件符號:⑦,型號:4739-476,名稱:,規格:W-W02814。
80.配件符號:⑧,型號:P5801G03,名稱:把手,規格:P5801G03。
81.配件符號:⑨,型號:P10263G12,名稱:墊套,規格:P10263G12。
82.配件符號:⑩,型號:P10261J01,名稱:前蓋板,規格:P10261J01。
83.配件符號:⑪,型號:P10263J02,名稱:操作面板罩,規格:P10263J02。
公 司:OTC DAIHEN設備和配件的專業供應商
連絡人:方經理
電話:
手機:180-9663-1656
E-mail:15305667776@163.com
地 址:安徽省合肥市望江西路502號